|
|
|
| |
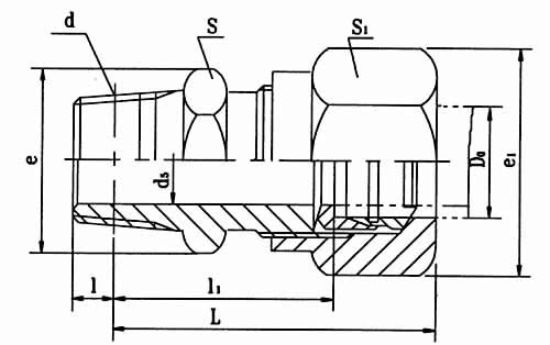
卡套式锥螺纹对接直通管接头(16MPa) |
| 本标准规定了卡套式锥螺纹对接直通管接头,适用于油、气及一般腐蚀性介质的管路系统。 |
|
标记示例:
公称压力E级,管子外径D0为14mm的卡套式锥螺纹对接直通管接头:
管接头E14 JB/ZQ4406-97 |
| |
管子外径D0 |
公称通径DN |
d5 |
d |
l |
l1≈ |
L≈ |
扳手尺寸 |
e |
e1 |
重 量(kg/100件) |
S |
S1 |
E(16) |
4 |
3 |
Z1/8 |
4.572 |
22 |
38 |
13 |
15 |
15 |
17.3 |
3.18 |
5 |
3.5 |
6 |
4 |
24.7 |
43 |
16 |
18.5 |
4.23 |
8 |
6 |
Z1/4 |
5.080 |
31 |
49 |
16 |
18 |
18.5 |
20.8 |
6.77 |
10 |
8 |
32 |
52 |
18 |
21 |
20.8 |
24.2 |
8.12 |
12 |
10 |
Z3/8 |
6.096 |
23 |
53 |
21 |
24 |
24.2 |
27.7 |
9.61 |
14 |
12 |
12.1 |
16 |
14 |
Z1/2 |
8.128 |
34 |
54 |
27 |
27 |
31.2 |
31.2 |
16.6 |
18 |
15 |
34.5 |
30 |
34.6 |
19 |
20 |
17 |
NZ3/4 |
8.611 |
39 |
62 |
34 |
34 |
39.3 |
39.3 |
27.3 |
22 |
19 |
43.5 |
67 |
36 |
41.6 |
31.4 |
25 |
22 |
Z1 |
10.160 |
45.5 |
72 |
41 |
41 |
47.3 |
47.3 |
44.7 |
28 |
24 |
46.5 |
73 |
48.2 |
32 |
27 |
Z11/4 |
10.668 |
34.5 |
76 |
48.5 |
50 |
57.7 |
57.7 |
71.7 |
34 |
30 |
77 |
76.6 |
40 |
34 |
Z11/2 |
35 |
63 |
49.5 |
55 |
63.5 |
63.5 |
83.9 |
42 |
36 |
60 |
69.3 |
92.6 |
|
| |
| |
| |
| |
| |
| |
| |
|
|
| |
|
|